Medical Packaging
We’ll print your packaging with the added security of smart scanning to provide 100% accuracy of contents for consumer safety.

Durable, foldable trays designed for secure product display and packaging.
Box Structure & Closure Mechanism
*Minimum order quantity applies.
View More
Choose from many tuck options including reverse and straight versions.
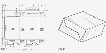
Standard Reverse Tuck (SRT)
These boxes are easy to open and close but unlikely to open unintentionally at the carton’s base. They are suitable for manual or automated assembly.

Standard Straight Tuck (SST)
This carton works beautifully for your products that require a primary panel featuring a large display window. The tuck (fold) closures are located in the back to conceal the raw edges of the front display panel.

Airplane Style Straight (AST)
This option differs from the Standard Straight Tuck with closure panels on the bottom and top. These panels swing from the rear of the carton and tucks in the front.

The sleeve style is great alone or as a basic structure for multi-packaging systems.
Rectangular Sleeve
Simply constructed, this sleeve functions as a stand-alone or underlying structure for other boxes. It also serves as slip-on covers in tray/sleeve combinations, making it an asset to your packaging supplies.

These secure packaging options are printed for branding impact and designed to withstand rough handlers.
Mailer Lock
The mailer box option is a favorite for packing and sending product samples. This popular carton works well as a shipping box and is designed for manual assembling, filling, and sealing.

Tuck and Tongue
Similar to the Mailer Lock, this carton is assembled, filled, and sealed manually. In addition, this style is designed to take abuse yet withstand inadvertently opening while in transit.

Bellows (Gusset) Tuck
The Bellows Tuck features sturdy corners and like the Mailer Lock carton, is designed to take on tough handlers. Great alternative for sending out samples!

Our seal end options are popular for cereal boxes, various foods, and other uses.
Full Overlap Seal End (FOSE)
These regular tuck flap cartons feature overlapping flaps that slide on top of each other providing an easy and secure opening.

Partial Overlap Seal End (POSE)
A favorite as cereal boxes, the top and bottom closure panels on this POSE style are just wide enough for overlapping with an adhesive seal.

Economy Overlap Seal End (EOSE)
This option provides lots of room for creativity with printing on all sides yet still a great economical choice!

1-2-3 Houghland Snap Lock Bottom
Better known today as the 1-2-3 closure, this type of box closure is typically used at the box’s bottom and paired along with a top tuck.

Himes Lock, Automatic Bottom
This is a great carton option for your smaller production volume needs that require a fast setup.

Full Flap Automatic Bottom
This packaging option works well with heavier contents or when product is concentrated lengthwise on the central axis. It is also a good substitute for the Himes Lock or Crash Lock.

Tuck and Seal End Combination with Zipper
If you need an initial/original secure closure as well as a functional reclosure, this Tuck and Seal End Combination is a perfect choice.

Double Sidewall/Double Endwall Simplex Tray
This option can be assembled by machine or by hand and features an inner side panel that is not as wide as its outer side panel.

These packaging options are great for a variety of products and other contents.
Four Corner Beers Tray (a.k.a.) Biers
Choose this Four Corner Beers Tray for a sturdy option that resists collapsing.

Infold/Outfold Tray
Another good choice for a wide array of products, this tray features angles on both side panels.

Four Corner Beers with Top Tuck Closure (a.k.a.) Biers
An excellent option for a wide variety of lightweight contents and shipped flat to end-user.

Six Corner (Point) Beers (a.k.a.) Biers
Also, a part of the tray group, this version is glued by the convertor before shipping flat to the end-user.

Known for affordable prices and quick turnarounds, MyPrintEasy puts a creative yet practical “spin” on record packaging needs.
In fact, we share your passion for music and entertainment and want to help you wrap up your music with ease with helpful templates and a free consultation! But we do more than just make it easy, we use high-quality processes and materials to achieve the best results, because your music deserves to stand out!
Digipacks Section
Known for affordable prices and quick turnarounds, MyPrintEasy delivers a creative yet practical touch to all your Digipack packaging needs.
With expert guidance, premium printing, and top-quality materials, we ensure your music is presented at its absolute best. Get your custom quote today and give your album the packaging it deserves!
Order your custom printed, folded cartons from MyPrintEasy!
We’ll print your packaging with the added security of smart scanning to provide 100% accuracy of contents for consumer safety.
Choose from several options to package your edible food products with your appealing images and graphics to whet appetites.
Put a new face on your box needs, customized with your gorgeous imagery and branding to influence consumers.
Entice customers with samples, toys, and more in various types of boxes that are personalized with full-color printing.

Before placing a bulk order, request your free sample and feel the difference in print, material, and finish for yourself.
GET YOUR FREE SAMPLEDiscover expert tips, trends, and ideas to elevate your print projects. From design to delivery — we make printing smarter and simpler.
READ ALL BLOGS
In this guide, we’ll cover standard catalog sizes, how to select the right dimensions...
Read more
In today’s competitive market, businesses must find innovative ways to effectively...
Copyright ©2026 MyPrintEasy. All Rights Reserved.